前 言
电化学测量法在测量电化学系统电位、电导和电流等电学量的基础上,通过探究被测量与被测系统间的相关关系,实现对系统组份的定性和定量分析。常用 的电化学测量法有[1]:恒电流法/恒电势法、计时电位法/计时电流法、伏安法和交流阻抗法(EIS)。
与其他电化学测量方法相比,电化学阻抗谱不仅对被测系统的原始状态扰动 更小,而且宽频率范围内的阻抗特征能更多地反映系统内部的电化学过程及其包 含的信息。目前,电化学阻抗谱在锂离子电池领域得到了广泛应用。大量学者凭借对锂离子电池EIS的准确测量与分析,实现了对锂离子电池的多方面探索与研究。本文将以锂电池的EIS为例对电化学阻抗谱进行分析。
1.电化学阻抗谱基本原理
电化学阻抗谱EIS,也称为电化学交流阻抗谱,该方法是研究锂离子电池在电化学性能方面的重要方法。电化学阻抗谱是对系统两端施加小振幅的正弦电 信号为系统干扰输入信号,检测系统输出电信号,通过对比输入与输出电信号得到系统阻抗谱的电化学测量方法,属于频域测量方法。由于锂电池是一个具有线性、稳定性和因果性条件的系统,利用一系列振幅为5mV、0.1Hz-100Hz的不同频率范围下正弦电压信号X进行激励,得到一个相应频率的正弦电流响应Y,那么频域响应函数Z(ω)=X/Y就是所对应频率的阻抗值,这一系列频率的阻抗就构成了电池的阻抗谱。
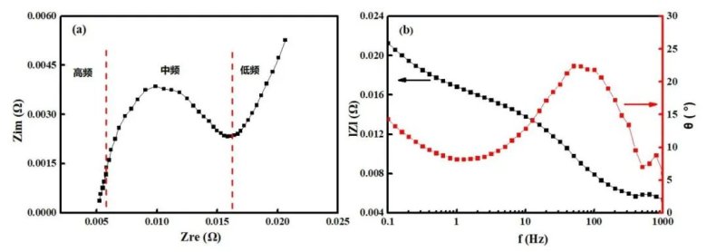
电化学阻抗谱通常采用伯德(Bode)图和奈奎斯特(Nyquist)图来表示。其中,Nyquist图是采用以阻抗实部ZRe为横轴,负虚部-ZIm为纵轴的坐标系,通过该图可以较为直观地反映电化学体系内各个反应过程的时间常数的大小。Bode图则是显示相移和幅值随施加频率的变化,通常用于测量电子电路的性能和稳定性。图1为2500mAh磷酸铁锂电池的Nyquist图和Bode图,该阻抗谱的频率范围为0.1Hz~1KHz,从左至右频率逐渐降低。在1kHz处阻抗的虚部近似为零,随着频率的降低,阻抗的实部逐渐增大,而阻抗负虚部出现先增大后减小最后再增大的变化趋势。EIS曲线由三段曲线构成:高、中频段的两个不规则的半圆弧以及低频段的斜线。通过分析锂离子电池的电化学过程,可知电池内的不同反应过程对应着的不同曲线:在高频区域表征锂离子通过多层及SEI膜的迁移扩散过程的非规则半圆;在中频区域表征电荷传递过程的非规则半圆;低频区域表征锂离子在活性电极材料中固态扩散过程的斜直线[2]。

图1.电化学阻抗谱的Nyquist图(a)和bode图(b)
2.电化学阻抗谱解析
2.1 电化学阻抗谱的组成
锂离子电池中典型的电化学阻抗谱可分为如下的五个部分,如图2所示:
(1) 超高频区域(10 kHz以上):与Li+和电子通过电解液、多孔隔膜、导线、活性材料颗粒等输运有关的欧姆电阻,在EIS谱中表现为一个点,此过程可用一个电阻Rs表示;
(2) 高频区域:与Li+通过活性材料颗粒表面绝缘层的扩散迁移有关的一个半圆,此过程可用一个Rsei/Csei并联电路表示。其中,Rsei即为锂离子扩散迁移通过SEI膜的电阻;
(3) 中频区域:与电荷传递过程相关的一个半圆,此过程可用Rct/Cdl并联电路表示。Rct为电荷传递电阻,或称为电化学反应电阻,Cdl为双电层电容;
(4) 低频区域:与Li+在活性材料颗粒内部的固体扩散过程相关的一条斜线,此过程可用描述扩散的Warburg阻抗Zw表示;
(5) 极低频区域(<0.01 Hz):与活性材料颗粒晶体结构的改变或新相的生成相关的一个半圆以及Li+在活性材料中的累积和消耗相关的一条垂线组成,此过程可用Rb/Cb并联电路与Cint组成的串联电路表示。其中,Rb和Cb为表征活性材料颗粒本体结构改变的电阻和电容,Cint为表征Li+在活性材料累积或消耗的嵌入电容。

图2.嵌入化合物电极中Li+脱出和嵌入过程中的典型电化学阻抗谱[3]
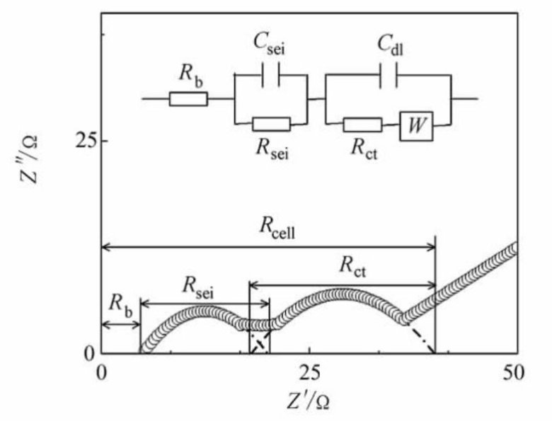
2.2 等效电路模型
锂离子电池是一个可以理解为包含电阻、电感和电容的电路系统,等效模型的建立就是把电池简化为一个电路系统,从而模拟电化学系统中的变化过程。常用的锂离子电池等效电路模型如图3所示。与阻抗谱中各频率阻抗成分相对应,Rs表示欧姆电阻;Rsei和Csei 表示SEI膜的电阻和电容,与高频部分的半圆对应;Rct 和 Cdl 分别代表电荷传递电阻和电双层电容,与中频部分半圆对应;W为Warburg阻抗,即锂离子在电极材料中的扩散阻抗,在复平面上用与实轴呈 45°的直线表示。通常使用Zview、ZSimpWin、EIS300、LEVMW、Impedance spectroscopy、Autolab Nova等数据处理软件,选择合适的等效电路模型,对电池的电化学阻抗谱进行拟合,从而得到每个阶段对应的阻抗值。

图3.锂离子电池阻抗谱和电池等效电路模型[4]
3.应用场景
电化学阻抗谱是研究电化学界面过程的一种重要方法,在电化学领域尤其是锂离子电池领域具有广泛的应用,如电导率、表观化学扩散系数、SEI的生长演变、电荷转移及物质传递过程的动态测量等。具体应用场景如下所示:
(1)电极材料的表征:通过对电极材料在不同电解质中的电化学阻抗谱进行测试,可以评估电极材料的导电性和反应活性,帮助优化电极材料的设计和制备;
(2)锂离子电池内部电化学过程的研究:电化学阻抗谱可以提供电池内部电化学过程的信息,如电解质的离子迁移、电极材料与电解质之间的电荷传输、电化学反应动力学等,有助于优化电池的性能和寿命;
(3)电池的状态诊断和故障诊断:电化学阻抗谱可以监测电池内部电化学过程的变化,例如电极材料的损失、电解质浓度和温度的变化等,从而诊断电池的状态和故障;
(4)电池循环寿命的评估:电化学阻抗谱可以通过测量电池在循环过程中的阻抗变化,评估电池的循环寿命和退化机制,有助于制定电池使用和维护策略;
(5)电池的热失控特性研究:电化学阻抗谱可以用于研究电池的热失控特性,如温度、电流密度和容量等因素对电池阻抗的影响,从而评估电池的安全性能和设计更安全的电池;
(6)电解质的性质研究:电化学阻抗谱可以通过测量电解质的电导率和离子迁移特性,研究电解质的化学和物理性质,例如离子浓度、离子迁移率、离子扩散系数等。
综上所述可知合理的使用EIS可以帮助研究人员更好的理解电池,提升电池研发水平,对电池性能的研究和应用、电池组系统的管理和应用等均具有重要的现实意义。
4.总结
基于电化学阻抗谱在锂离子电池中的广泛应用,元能科技自主研发了一款电化学性能分析仪(图4),除了常规的充放电功能,该设备还集成了CV(循环伏安)和EIS(电化学阻抗)模块,可实现电池在循环过程中的EIS测试,如图5所示。如图4(b)所示的测试工步,EIS作为一个独立的测试模块可以放置在任何工步后面,可实现每循环N圈后测试EIS,或在充电/放电过程中电池到达某SOC后测试EIS,测试过程不需要拆解和搬运电池,提高测试效率和准确性。

图4.电化学性能分析仪ERT7008(a)和循环EIS测试工步(b)

图5.电芯循环过程中的EIS数据图
5.参考文献
[1] Ning B,Cao B,Wang B,et al.Adaptive Sliding Mode Observers for Lithium-ion Battery State Estimation Based on Parameters Identified Online[J].
[2] 张金龙,佟微,漆汉宏,等.平方根采样点卡尔曼滤波在磷酸铁锂电池组荷电状态估算中的应用[J].中国电机工程学报,2016,.36(22):6246-6253.
[3] Barsoukov E , Macdonald R J .Impedance Spectroscopy: Theory, Experiment, and Applications[M].Wiley-Interscience, 2005.
[4] Zhang S S, Xu K, Jow T R. Electrochemical impedance study on the low temperature of Li-ion batteries[J]. Electro-chim Acta, 2004, 49 ( 7) : 1057-1061.
