产品描述:
本机结构紧凑,生产效率高。采用碗型轴承具有较高的精度储备,并采用集中稀油润滑系统和新颖的干油密封防尘系统,当不能破碎物料进入破碎腔时,弹簧安全装置能保护设备不受损坏,通常采用在二级破碎、三级破碎中。适用于破碎中等以上硬度的各种矿石和岩石 ,如铁矿石、铜矿石、石灰石、石英、花岗岩、砂岩等。标准型适用于中碎,中型,短头型都使用于细碎,广泛应用于选矿、建材、水利、化学工业等领域。
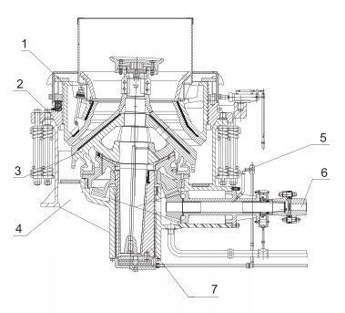
主要部件名称:
1.调整套部 2.支撑套部 3.破碎圆锥部 4.机架部 5.弹簧部 6.传动部 7.偏心套部

产品特点:
◎大破碎比 ◎物料粒度好
◎排料口调整方便,快捷 ◎防铁质过载保护
◎轧臼壁磨损均匀且使用寿命长 ◎采用干油或水两种密封形式
◎产品维修成本低 ◎产品运行稳定,可靠性高

