产品描述:
GZG 系列自同步惯性振动给料机,块状、颗粒状物料从储料仓或料斗中均匀连续或定量地给到受料装置中去,是受料装置不受物料的冲击,保护受料装置。可谓破碎机械连续、均匀喂料,提高破碎机械产能及连续工作能力。广泛应用于选矿、建材、水利、化学工业等领域的破碎筛分联合设备中,承担向反击式破碎机,圆锥破碎机等破碎设备提供稳定连续的喂料工作。也能为选煤、筛分、运输、包装机械等给料、配料等。
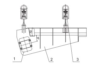
主要部件名称:
1.振动电机 2.机架 3.减振器

产品特点:
◎体积小、重量轻、结构简单紧凑
◎安装,维修方便
◎效率高,耗电低
◎噪音低,改善工作环境


