产品描述:
山宝SCB系列立轴冲击式破碎机是采用世界一流技术及设备,开发并产出具有高技术水准的破碎机。它是专业破碎技术与机械制造**结合的典范,是新技术、新工艺的充分体现。广泛应用于高速公路、铁路、建筑、市政工程混凝土搅拌站等生产优质砂石骨料,成为机制砂行业和石料整形领域的核心设备。
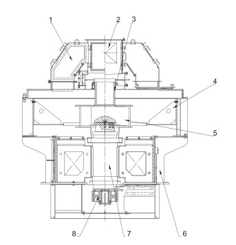
主要部件名称:
1.粉尘循环系统 2.料斗 3.进料管 4.破碎腔 5.转子 6.机架 7.轴系统 8.主机皮带轮

产品特点:
◎优异的破碎性能
◎易损件使用寿命长,采用特殊高铬铸铁和超硬质合金,降低使用成本
◎处理量大、产量高
◎一机多用、应用灵活,实现“石打石”和“石打铁”的转换
◎产品粒形优异
◎低噪音、低振动、拥有**的独特空气自循环系统,降低粉尘,利于环保


