产品介绍
BT-103是一种用于粉体休止角测试的仪器,它采用注入限定底面法。BT-103粉体休止角测试仪满足标准GB/T 16913-2008、美国药典USP<1174>和欧洲药典EP 2.9.36。休止角是指在静平衡状态下,粉体堆积斜面与底部水平面所夹锐角叫做休止角。它是通过特定方式使粉体自然下落到特定平台上形成的。休止角大小直接反映粉体的流动,休止角越小,粉体的流动性越好。休止角也称安息角或自然坡度角。广泛用于制药与食品、工业化学、能源电池粉末、科研院校、质检机构等相关粉末粉体及颗粒材料检测;可以提供粉体储藏性质的变化,特别是在料仓中储存情况等。
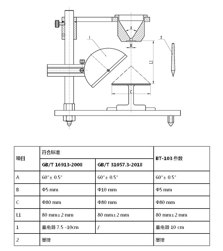
符合标准

操作步骤
● 粉体装入量杯:将适量的粉体装入量杯中。
● 倒入粉体:用塞棒塞住漏斗流出口。将量杯内的粉体全部缓慢倒入漏斗中。
● 抽出塞棒:抽出塞棒,使粉体从漏斗孔流出到下面的平台上。对于流动性不好的粉体,可搅动使粉体连续通过漏斗下落。如果粉末不能自然流出可以敲击漏斗或使用细铁丝使粉体流出形成锥体。
● 测量休止角:待粉体全部流出后,用量角器测量粉体锥体母线与水平面所成夹角,然后轻轻转动接料盘120°和240°位置并测量角度。把上述三个角度取平均值,该平均值就是这个粉体的休止角(θr)。

