突出优势
与传统选粉机相比,TS-CX系列超细粉体专用分级机具有以下突出优点:
1、分级原理先进。结构设计较为独特,改用侧进料、撒料盘下移、下进风方式,整合了重力沉降、离心沉降、平面涡流等分级原理,实现了多级分离。
2、适应性强。笼形转子转速及风量可调,可适应钙基脱硫粉体、超细高岭土、钛白粉、矿渣微粉、超细粉煤灰、水泥等不同密度、不同细度要求的粉体的加工过程。既可作为闭路粉磨系统附属设备,也可作为粉煤灰等粉体的直接分级处理设备。
3、细度控制便捷。选粉机主轴采用无级调速控制,只要改变主轴转速和风机风量,就可很方便的实现细度控制,调节范围宽,细度调节方便、灵敏可靠。
4、节能幅度大。整个设备系统采用流线形设计,使得系统阻力显著减小,节能效果十分明显。
5、选粉分级效率高。该机的选粉效率达到85%以上。
6、改善成品质量。成品比表面积可达450 m2/kg以上,45um筛余<5%。
7、使用寿命长。分级撒料盘、旋风筒蜗牛角、导向叶片、转子分级叶片、转子锁风叶片、粗粉锥等易磨损部件进行抗磨工艺处理,采用新型耐磨合金板作分级机内衬,其磨损率大大降低,有效地延长了设备的使用寿命。
8、主轴下轴承冷却采用天津院的潜艇润滑设计原理,增加德国进口密封圈,有效地解决了润滑油泄漏和轴承进灰两项重大问题,切实有效的延长了下轴承使用寿命。
9、整机出厂前都做了动平衡试验,保证分级机动平衡精度达G63级;分级机所配的循环风机采用整体钢结构基础,用弹性减震垫安装在基础上,减轻了风机的振动对基础的影响,使整机运行时十分平稳。
工作原理
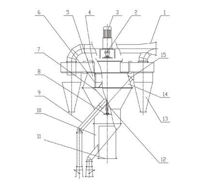
该产品通过改进,形成了粉体的分散、分级、收集三部分。
1、分散部分:将撒料盘从转笼上顶部移到下锥体底部,进料口移至转笼部分的筒体外侧,进风口由侧部改成下部,正对着撒料盘。通过改进,产生了如下效果:
⑴使分散与选粉区域有效分开,消除了在分级过程中的粗、细颗粒间的相互干扰,避免了少量粗粉被吹进成品的缺陷,缩小成品的粒径分布范围;形成了下分级区,减轻了主分级区域的负荷。
⑵改成下进风,提高了撒料盘下方的物料吹散风速,增大了分散空间,大大提高进料的分散度。改变了侧进风产生的分级区风的分布不均匀现象,减小了风的阻力。
2、分级部分:由于结构改进,形成了上、下两个分级区。
下分级区,主要是重力沉降分级。物料从撒料盘撒出,风向上吹散,物料受到重力和风的阻力作用,粗粒料下降,较细颗粒随风向上,产生分级。细料随风向上,由于筒体截面扩大,风速降低,有些较大颗粒改变方向而下沉,形成再次分级。
上分级区,采用航空空气动力学分析方法对整个流场进行了优化设计,设置了弧形导向叶片与笼形转子组成的涡流分级区,使得分级圈表面气体流场均匀而稳定,同一立面任何一处的气流速度相对误差<3%,为精确分级创造了条件。气流带粉进入弧形导流板与转笼之间,产生离心沉降分级;碟式分级转子以一定速度旋转,在分级机内产生稳定的旋转空气流场,使粉体受到旋转气流的作用,产生离心力与阻力的平衡,实现超细粉体分级。
3、收集部分:采用蜗旋式高效低阻旋风收尘器或气箱脉冲袋式除尘器进行粉料收集。(由于旋风收尘不能收下特细粉料会产生特细粉循环,选用气箱脉冲袋式除尘器,避免特细粉循环,增加产品中特细粉含量,提高选粉效率。由用户自行选择。)
技术参数

