会员登录|免费注册|忘记密码|管理入口 返回主站||保存桌面|手机浏览|联系方式|购物车
企业会员第1年

江苏吉地达环境能源科技有限公司  

智能双驱粉体精密分极装备 高分散选粉机 人工砂石选粉机 超细粉体分级机 T-SEPAX三分离选粉机 改进型O-SEPA选粉机

搜索
新闻中心
商品分类
  • 暂无分类
联系方式


请先 登录注册 后查看


站内搜索
 
荣誉资质
  • 暂未上传
友情链接
  • 暂无链接
首页 > 供应产品 > JDD系列干粉砂浆高效抗结露组合形式型双转子选粉机
JDD系列干粉砂浆高效抗结露组合形式型双转子选粉机
单价 面议对比
询价 暂无
浏览 2
发货 江苏省盐城市
品牌 科达
型号 JDD系列
范围 --
应用行业 水泥粉磨、新型材料、干粉砂浆、陶瓷、橡胶、石油开采、航空航天等
过期 长期有效
更新 2025-11-15 10:54
 
详细信息

突出优势

    在水泥工业生产中,为提高粉磨系统的效率及降低产品的能耗,现普遍采用圈流粉磨系统。而作为该系统的重要组成部分的选粉机,其性能的先进与否直接影响到系统的工作效率。因此,选粉机的研制工作一直受到各科研院所及工矿企业的重视。
JDD系列高效抗结露组合形式型双转子选粉机是江苏吉地达环境能源科技有限公司技术人员结合国外先进选粉技术,将平面涡流理论较好地运用在旋风式选粉机上,自行研制开发的新型选粉设备。经使用证明,选粉效率达到85-90%,且细度调节方便灵活,性能稳定可靠。
与传统选粉机相比,JDD系列高效抗结露组合式双转子选粉机具有以下独特的优点:
1、采用可拆换组合式螺旋桨撒料盘。既具有撒料作用,又产生了上升气流使撒料盘叶面上的物料颗粒沸腾呈分散状态,可使物料颗粒增加分级、分散性能。
2、分级原理先进。结合多种选粉机理,利用方向相反的离心力和气流向心吸力的相平衡,物料经过分级界面分明和选粉区,故分级精度高。
3、串联而成的下笼型转子可将上选粉室分离的粗粉颗粒重新扬起打散,进一步分离出合格的细粉,同时保证机内涡旋气流的均匀性。
4、选粉机主轴采用无级高速,细度调节方便,灵敏可靠,且调节范围宽。
5、重新优化设计了选粉区,提升区的空间范围,提高了选粉效率。
6、采用新型高效低阻旋风集尘器、设备阻力低集尘效率高。
7、在机内优化设计了弹性清扫器等多种防结露装置,抗结露效果好。
8、在所有易损部位,均采用新型多级衬板保护,有效地延长了主机寿命。
9、转动系统采用了先进的干油工作站系统,成功解决轴承易损难题。
10、超静定结构的使用,整机基本无振动运行;新型防尘减振风机的使用,使系统振动降到*低。
11、粗粉管和细粉管采用双联锁风阀,大大降低了漏风率,克服了以前选粉机扬尘大的缺陷。

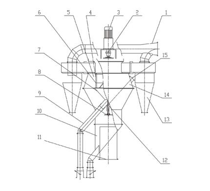
工作原理

1、出磨物料由选粉机上部料斗进入选粉机内壳,落到与转子成一体的组合式螺旋桨撒料盘上,在撒料盘的高速旋转作用下向四周撒出,同时受螺旋桨撒料盘叶片产生的上升气流作用向上扬起,在撒料盘螺旋桨叶片上形成物料沸腾。物料中较细的颗粒向上飘起,呈悬浮分散状态,而较粗或较重的物料被撒料盘叶片分散沿筒壁落下,完成**次选粉。
2、撒料盘下方设有下笼型转子10,下笼型转子随主轴一起转动,形成涡流,将沿筒壁落下的粗重的物料再次打散,其中的细粉向上扬起,重新回到循环风中,再次分级,粗粉经滴流装置,从内锥体排出。
3、撒料盘上方设有笼型转子6。在选粉室内,上笼型转子分级圈表面附近的气流及分散于气流中的物料在分级圈的带动下与分级圈一起作高速转动,在分级圈一起作高速雷动,在分级圈周围形成均匀强烈的涡旋气流。在此区域内,任何位置的离心力与抽吸力的关系都恒定不变,气流中的物料所受的离心力,大小可通过调整电机2主轴3的转速来调节。当转速增大时,该力也增大,此时如果保持风量一定,则切割粒径减小,产品变细;若转速减低,则产品变粗。
4、经上笼型转子分级后细颗粒随循环风进入外部各个旋风集尘器内。由于新设计的旋风集尘器进风口加设了导风板,在内锥筒增设了反射屏,下端增设了减速板,从而使旋风集尘器流体阻力大幅下降。循环风在导风板作用下,以较高的风速进入旋风收集器。在蜗牛角扩大部分风速突然降低,加速颗粒沉降,也提高了旋风集尘器的集尘效率。

1、调节阀  2、调速电机  3、主轴  4、进料口  5、风岔管  6、上转子  7、旋风筒  8、选粉室  9、撒料盘 10、下转子  11、滴流装置  12、细粉出口(单锁风阀)  13、粗粉锥  14、粗粉出口(双锁风阀)  15、风机

技术参数