V型混合机
V型混合机概述?:
本机适用于制药、化工、食品的干粉状、颗粒装物料的混合。
该机混料筒结构独特,混合均匀,效率高,不积料。整机结构简单,操作容易。外表面和物料接触部分均采用优质不锈钢制造,造型美观,维护、清洗方便。
要求原理与结构:
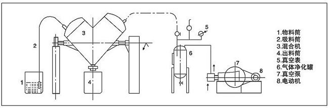
本机一端装有电机与减速机,电机功率通过皮带传给减速机,减速机再通过联国器传给V型桶。使V型桶连续运转,带动桶内物料在桶内上、下、左、右进行混合 V型混合机系列产品为V型高效不对称混合机,它适用于化工、食品、医药、饲料、陶瓷、冶金等行业的粉料或颗料状物料的混和。该机结构合理、简单、操作密闭,进出料方便,(人工或真空加料)筒体采用不锈钢材料制作,便于清洗,是企业的基础设备之一。
V型混合机外型图:
V型混合机技术参数:
V型混合机使用及保养:
1、安装:将机械放置平稳,装好机脚,垫平,使机械能运转自如。
2、使用前先将须加油处加好油,然后进行空载运转,检查各紧固件是否松动,电气是否正常,机械是否运转正常,如有异常,进行整修和调试。
3、将加料口转至上面,打开加料盖进行加料,加料量不可超过规定容积,然后关紧加料盖,开动机器进行运转,途中如发现异常,必须停机检查。
4、下班后或更换品种必须将料斗内、外冲洗干净。


