粉体是由许许多多小颗粒物质组成的集合体,具有许多不连续的面,比表面积大,由许多小颗粒物质组成。自从人类社会的发端开始,粉体技术就与每个人息息相关,随着经济的快速发展,各行各业对粉体的需求日益增大,粉体输送作为重要的粉体技术之一,成为工业经济发展不可或缺的环节,并被广泛应用于建材、冶金、医药、化工、食品等诸多行业。
一 粉体输送的特殊性
粉体具有不同于其他形态物质的特殊性质,如湿度、黏度、颗粒度、流动性、堆积密度、带静电等,这些特性都存在一定的不确定性。就粉体的流动性来说,它就受粒子的形状、大小、表面状态、密度、空隙率等多因素的影响,加之某些粉体物料还具有易燃、易爆、有毒、有害等特殊性质,使得粉体的输送与其他物质相比,对输送设备及工艺要求更高。

进过多年的探索和发展,粉体输送技术日趋成熟。这些粉体输送技术各有优缺点,基本能满足企业粉体生产过程的要求,但要根据不同的输送需求选择合适的粉体输送设备。下面,小编为大家介绍几种主流的粉体输送方式及相应设备。
二 粉体输送方式及设备
粉料输送方式分为气力输送和机械输送,与之对应的粉料输送设备种类多种多样:气力输送包括空气输送斜槽、螺旋式气力输送泵、仓式气力输送泵和气力提升泵等,机械输送设备包括胶带输送机、螺旋输送机、斗士提升机和链板输送机等。当下应用较多的有气力输送系统、管链输送系统和螺旋输送系统。
1.气力输送系统
随着颗粒流体力学理论研究的不断深入和多相流技术的发展,气力输送技术越来越多地被应用于众多行业的干燥粉状物料的输送。气力输送又称气流输送,是在一定条件下,利用空气流作为承载介质,在管道中输运粉、粒状固体物料的输送方法。系统主要由发送设备、输送管路、料气分离设备、气源与净化设备及电气仪表等组成。

气力输送系统
来源:弗格森输送机械(常州)有限公司
与机械输送方式相比,气力输送具有适应物料范围广、输送物料质量高、输送效率高、输送能力布置灵活、对环境无污染、占地面积小、维修简单等突出的优势,但同时也具有动力消耗大、局部可能会产生管道磨损和被输送物料的少量破碎等问题。
2.管链输送设备
管链输送机是一种输送粉状、小颗粒状及小块状等散状物料的连续输送设备,可以水平、倾斜和垂直组合输送,一般用于精细化工、农药矿石、建筑材料、食品工业等。

管链输送系统一览图
来源:弗格森输送机械(常州)有限公司
管链输送系统的优势也十分明显,包括可以三维改变输送方向、全封闭式输送无溢漏、出口不必设置除尘器、物料破损少、不易产生系统堵塞等。除此之外,弗格森的管链输送机还具有超低能耗(功率0.2-22千瓦)、原料粉尘不飞扬、作业环境清洁、安全性高、管路不杂乱、不受任何地形与高度影响等突出优点。
3.螺旋输送系统
螺旋输送机是一种利用电机带动螺旋回转,推移物料以实现输送目的的机械。螺旋输送机在输送形式上分为有轴螺旋输送机和无轴螺旋输送机两种,在外型上分为U型螺旋输送机和管式螺旋输送机。其中,弗格森生产的U型螺旋输送机全部采用DIN15261-1986标准制造,设计符合JB/T7679-2008《螺旋输送机》专业标准。

管式螺旋输送机

U型螺旋输送机
螺旋输送机能水平、倾斜或垂直输送,具有结构简单、横截面积小、密封性好、操作方便、维修容易、便于封闭运输等优点。
三 粉体输送的技术瓶颈
鉴于粉体的自身特性以及输送设备的性能局限,粉体在输送过程中会出现管道磨损、粉体受潮沉积、设备堵塞、跑粉漏粉等一系列问题,经过不断探索,粉体输送过程中的常见问题都有了较好的解决方案。比如,在气力输送过程中,由于输送风速较高,局部可能会产生管道磨损和被输送物料的少量破碎,这个问题可以通过采用合适的的输送方式如低输送风速、高混合比输送方式下可得到显著地改善;针对设备堵塞问题,也可以通过冲气消堵、引气消堵扥措施解决。

但长久以来,有一项技术瓶颈却是难以突破的:粉体输送过程中难以进行实时称重与计量!当前,很多粉体输送设备已经实现了自动化,大大提升了工作效率,节省了人工成本。由于粉体不像流体那样可以进行实时测重与计量,导致粉体在处理过程中,尤其是大产能时,难以获得物料通过管道的具体物料量,如果再通过额外的计量系统进行测量,不仅极大地增加了设备成本和能耗成本,也因为过渡料仓的增加,造成了资源浪费。
四 行业新突破:粉料输送实时测重系统!
经过在反复的探索和试验,现在,有一家企业解决了上述技术难题!弗格森输送机械(常州)有限公司作为粉料输送行业的业界翘楚,创造性地发明了一种粉料输送实时测重系统(专利号:2016105125125),此项发明能够对粉料的重量进行实时测量,以便控制粉料的进料量和出料量。
此项发明有什么重大意义?这种粉料输送实时测重系统可以替代传统的物料称重,减少过渡仓及不能连续的问题;除了输送与称重,经过这种粉料输送实时测重系统的提升,使得原本的输送系统也具有了监测功能,能够实时控制物料进量和出量;它能够完成精确地输送计量,有效降低物料损耗、保护环境。
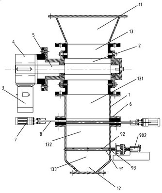
它是如何运作的?请看下图,通过此系统,物料由进料口经过物料通道进入卸料部,然后经由卸料部进入称重部,卸料部和称重部之间、称重部和出料部之间同时形成断路,物料短暂停留在称重部内,称重装置对物料进行称重。称重结束后,物料经由出料部进入下一环节。

弗格森公司发明专利 粉料输送实时测重系统
主体构成:(1)壳体,(11)进料口、(12)出料口,(13)物料通道,(131)卸料部,(132)称重部,(133)出料部
最让人可喜的是,这种粉料输送实时测重系统作为粉料输送与计量过程中的一个配件,通用性强,不受物料比重及粒径的限制!

弗格森输送机械(常州)有限公司致力于非标自动化设备、自动化生产线、输送设备及物料配料输送包装工程等的研发、设计、生产和销售,技术水准领先国际。公司于去年正式入选江苏省2018年第三批高新技术企业名单,生产的管链输送系统、气力输送系统等均被评为常州市高新技术产品。“高新技术,打造弗格森品牌”,相信走科技引领企业发展道路的弗格森,会源源不断地带给业界更多惊喜。
参考资料
1. 陶珍东等,《粉体工程与设备》;
2. 弗格森输送机械(常州)有限公司官网。
