小型气流磨中旋风分离器的优化设计
赵庭
粉瑞得制药设备(上海)有限公司 研发部 上海 201108
摘要:近年来,随着制药工业技术的飞速发展,超细粉碎技术在药品深加工中的应用越来越重要。超细粉体由于粒度细、分布窄、质量均匀、缺陷少,因而具有比表面积大、表面活性高、化学反应速度快、溶解度大等特点,药品经超细粉化后,外用或者内服时均可提高吸收效率、治疗效果及利用效率。当改变药品剂型,做到微米、亚微米及纳米级时,药品可制成针剂使用。在此背景下, 加强对小型气流磨的应用研究就显得尤其重要。
关键词:小型气流磨;旋风分离;物料收集
中图分类号:TQ172 文献标识码:A
Influence of Different Parameters on the small Cyclone Jet Mill Material Collected
Zhao Ting
R&D Department, Frewitt Pharma Machinery (China)Co., Ltd. ,Shanghai 201108,China
Abstract:In recent years, with the rapid development of the pharmaceutical industry technology, ultra-fine grinding technology in the deep processing of drugs it is becoming increasingly important. Since the ultra-fine powder of fine particle size, narrow distribution, uniform quality, fewer defects, and thus has a large surface area, high surface activity, chemical reaction speed, solubility, and other characteristics, when the ultra-fine powder of the drug after topical or oral administration are can increase the absorption efficiency, treatment and utilization efficiency. When changing pharmaceutical dosage forms, do micron, submicron and nanoscale, drug use can be made of injection. In this context, strengthen applied research for small jet mill is particularly important.
Key words: Small jet mill; cyclone; material collection
一、 小型气流磨
气流磨粉碎是以颗粒的高速碰撞为主要方式,由于这种作用的瞬时性,使冲击力以应力波的形式在颗粒中传播,在材料的自由面、内部裂纹或晶界附近产生很大的拉伸应力以至断裂,并且颗粒的破坏首先发生在材料结合强度的薄弱处。
制备粉体离不开粉碎设备,气流粉碎设备能量利用率较一般机械设备高,适用于干法生产超微粉体。气流磨是一种技术较成熟的干式超细粉碎设备,可省去物料的脱水、烘干等工艺,药品大多纯度高、活性大、分散性好、粒度细分布较窄、颗粒表面光滑,所以气流磨在粉碎药品的粉碎应用中很受欢迎。
FJM-100型气流磨,是粉瑞得制药设备(上海)有限公司的研发,专门用于各种脆性、结晶体、热敏性、中低硬度药品的干法超细粉碎设备。设备整体材质为不锈钢316L,其中圆形研磨室针对不同物料,设计了不同进气角度和数量不同的喷嘴环,可保证药品粉碎到2~20微米。
FJM-100基本参数
腔体尺寸 | 产生能力 | 批次大小 | 用气量/ 7bar | 用气量 /10bar |
100mm | Max.8kg | 500g~4000g/h | 260L/min | 420L/min |

图1 FJM-100小型气流磨
二、 旋风分离器设计
在气体流速和进料速度相同的情况下,经过相同研磨室粉碎后:
旋风分离器的进气口结构,排气管长度,以及排气管入口结构不同时,物料收集效率有相当大的差别。
1. 进气口结构


图 2 切向进口 图 3 螺旋进口
旋风分离器的两种进口形式:切向进口、螺旋入口。
切向进口的旋风分离器结构简单,容易加工制造,相对比较常。粉碎后的颗粒和气体的混合体沿着切向口进入除尘器后,气流大致会出现两种情况:一是大部分气流和颗粒的混合体会由于重力作用,会以10°左右倾斜角,向下做螺旋运动。颗粒在旋转运动过程中,因重力会不断下落;二是小部分气流没有马上螺旋运动,而是沿着旋风分离器的径向方向撞击到分离器内壁,这种直线运动会造成入口的气流紊乱,本来应被收集的尘粒被裹挟到向上的排出气流中而逃出分离器。
试验数据:表1
产品/Product | 食盐 |
机器/Machine | FJM-100 切向进口型旋风分离器 |
转子速度/Rotor speed | 进料压 5.5 KG , 旋转压 4.5 KG |
筛网/Sieve | 23º喷嘴环, 进料管调节 10 mm |
进料速度/Dosing speed | 手动加料 |
原料重量/Weight of raw materials | 500 g |
产品重量/Weight of Production | 397g |
收集效率/Collection efficiency | 0.794 |
螺旋进口的旋风分离器结构相对复杂,加工难度大。由于进入螺旋分离器的气流在螺旋口处不断收窄,使颗粒向分离器内壁移动减小,同时螺旋的外径加大了进气气流到出气口的距离,减少了气流紊乱的机会,有利于颗粒分离。
试验数据:表2
产品/Product | 食盐 |
机器/Machine | FJM-100 螺旋进口型旋风分离器 |
转子速度/Rotor speed | 进料压 5.5 KG , 旋转压 4.5 KG |
筛网/Sieve | 23º喷嘴环, 进料管调节 10 mm |
进料速度/Dosing speed | 手动加料 |
原料重量/Weight of raw materials | 500 g |
产品重量/Weight of Production | 411g |
收集效率/Collection efficiency | 0.822 |
与切向进口形式相比,螺旋进口减少了气流对桶内气流的撞击和干扰,螺旋压力损失小,是一种比较理想的进口型式。
2. 排气管长度
排气管长度对物料二次返混排出的影响分析。
进入旋风分离的气体,大部分沿着内壁,由上向下做外螺旋运动,此时旋风分离器的轴心处气压较低,锥体底部的一部分气流会带着细小的颗粒向上沿着轴心旋转,形成内螺旋,到达排气管后,沿排气管排出。
图4 旋风分离器气流图

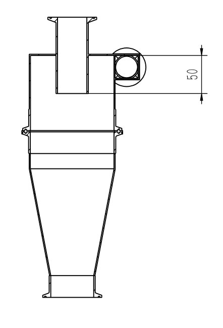
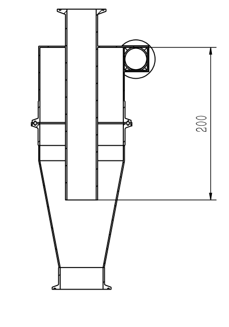
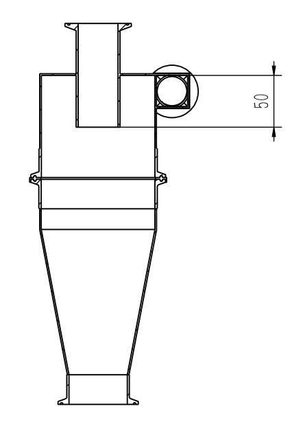
图 5 长度200mm 图 6 长度50mm
当排气管长度距离锥体底部较近时,容易造成细小的颗粒的返混排出。
试验数据:表3
产品/Product | 食盐 |
机器/Machine | FJM-100 螺旋进口型旋风分离器 |
排气管长度/Length of Exhaust pipe | 200mm |
转子速度/Rotor speed | 进料压 5.5 KG , 旋转压 4.5 KG |
筛网/Sieve | 23º喷嘴环, 进料管调节 10 mm |
进料速度/Dosing speed | 手动加料 |
原料重量/Weight of raw materials | 500 g |
产品重量/Weight of Production | 411g |
收集效率/Collection efficiency | 0.822 |
当排气管长度略低于进气口高度时,细小颗粒返混排出的机率会大大降低,因高度低于进气口,也不会造成入口处的气流紊乱。
试验数据:表4
产品/Product | 食盐 |
机器/Machine | FJM-100 螺旋进口型旋风分离器 |
排气管长度/Length of Exhaust pipe | 50mm |
转子速度/Rotor speed | 进料压 5.5 KG , 旋转压 4.5 KG |
筛网/Sieve | 23º喷嘴环, 进料管调节 10 mm |
进料速度/Dosing speed | 手动加料 |
原料重量/Weight of raw materials | 500 g |
产品重量/Weight of Production | 448g |
收集效率/Collection efficiency | 0.896 |
以上试验数据分析,应该加大排气管入口到锥体底部的距离,减小细小颗粒二次返混排出机会,排气管插入锥体的深度应略低于进风口。
3. 排气管入口结构
在排气管直径和深入锥体的长度都相同的情况下,下端的入口型式的不同也会对物料的手机效率产生影响。

图 7 直口结构 图 8 锥口结构
排气管入口结构为直口时,含细小颗粒的螺旋上升的气体在向顶部流动时,几乎遇不到任何阻力。
试验数据:表5
产品/Product | 食盐 |
机器/Machine | FJM-100 螺旋进口型旋风分离器 |
排气管长度/Length of Exhaust pipe | 50mm |
转子速度/Rotor speed | 进料压 5.5 KG , 旋转压 4.5 KG |
筛网/Sieve | 23º喷嘴环, 进料管调节 10 mm |
进料速度/Dosing speed | 手动加料 |
原料重量/Weight of raw materials | 500 g |
产品重量/Weight of Production | 448g |
收集效率/Collection efficiency | 0.896 |
排气管入口为锥形时,上升的气流遇到这个收缩形式的结构时,流动的阻力会增大,上升的颗粒随气流排出的机率会降低。
产品/Product | 食盐 |
机器/Machine | FJM-100 螺旋进口型旋风分离器 |
排气管长度/Length of Exhaust pipe | 50mm |
转子速度/Rotor speed | 进料压 5.5 KG , 旋转压 4.5 KG |
筛网/Sieve | 23º喷嘴环, 进料管调节 10 mm |
进料速度/Dosing speed | 手动加料 |
原料重量/Weight of raw materials | 500 g |
产品重量/Weight of Production | 466g |
收集效率/Collection efficiency | 0.932 |
与入口结构是直口的排气管相比,锥形结构的排气管既不影响排气效率,又增加了物料的收集效率,是比较好的排气管入口结构方案。
三、 结束语
在气流磨的研发改进上,国内外都有一些进展。在制药行业对小型气流磨的需求和要求日益提高。
为了满足客户对气流磨的物料收集效率的要求,我对现有旋风分离器做了旋风分离器的进气口结构,排气管长度,以及排气管入口结构的技术改进。通过数次的试验和数据分析,旋风分离已经满足目前的需求。
参考文献
[1]刘康康. 气流磨中胶粉粉碎过程及低温粉碎系统优化[D].大连理工大学,2015.
[2]王巍. 旋风分离器结构原理分析[J]. 工业技术,2014.
[3]晋克勤,张忠全. 旋风分离器分离性能的数据值预测[J]. 贵州大学学报(自然科学版),2011,28(05).
[4]吴冉. 旋风分离器进出口结构改进的研究进展[J]. 广东化工,2011,38:168-169.
[5]高翠芝,孙国刚,董瑞茜.旋风分离器旋风长度的分析技术[J]. 石油学报,2012,28(1).
